デシル分析は、顧客を売上などの指標の高い順に10個の等頻度グループに分け、各グループがどれだけ売上に貢献しているかを分析する手法です。

この分析により、売上の大部分がどの顧客層から生み出されているかが一目で分かります。
例えば、上位10%の顧客が全体の売上の30%を占めているといった具体的な情報を得ることができ、マーケティングや営業戦略を立てる上で役立ちます。

デシル分析は、パレート分析やABC分析と同様に、重要な対象を特定してリソースを集中させるための手法ですが、いくつかの重要な違いがあります。
パレート分析やABC分析は、製品や顧客を一つずつ横に並べてグラフを作ります。そのため、対象が数千、数万と増えると、グラフの横軸が埋まってしまい、全体の傾向を読み取ることが難しくなります。

デシル分析は、対象がどれほど多くても、上から10%ずつをひとまとめにした「10本のバー」にする手法です。項目数がどれだけ膨大になっても、結果が常に10項目に整理されるため、全体の中での偏りが一目でわかります。
デシル分析を実行する場合、1行が1顧客の取引や注文明細を表すトランザクションデータを利用するのが一般的です。(データはこちらからダウンロードいただけます)

具体的には、以下の2種類の情報(列)を含むデータが必要です。
顧客の識別情報
分析対象となる顧客を一意に識別できる情報が必要です。具体的には以下のような情報です。

分析の目的に応じて、顧客以外の対象にも適用できます。例えば、製品別のデシル分析を行う場合は製品ID、店舗別の分析では店舗IDなどを使用します。
評価指標となる数値データ
デシルのランク付けに使用する数値データが必要です。一般的には以下のような指標が使われます。

今回は、1行が1つの注文明細を表すデータを使って、AIプロンプトで顧客の売上に対するデシル分析を行います。

データには、顧客ID、注文日、製品カテゴリー、製品名、売上などの情報が含まれています。
「AI データ加工」のボタンをクリックします。

AI プロンプトのダイアログを開いたら、以下のようなテキストを入力し、実行します。
顧客の売上でデシル分析を実行して

するとデシル分析をするためのコードが生成されます。

使用している関数の説明や期待される結果を確認し、「ステップとして実行」ボタンをクリックします。

ステップが追加されデシル分析のためのデータを作成できました。

続いてチャート・ビューに移動し、デシル分析を実行します。
タイプに「バー」、X軸に「デシル」、Y軸に「売上」を選択します。

デシルごとの売上を可視化することができました。

続いて売上貢献度の累積割合のリファレンスラインを追加します。
チャート上部の基準線の追加ボタンをクリックして、Y軸のメニューから、「累積合計の割合(%)」を選択します。

累積合計の割合を可視化できました。

累積合計の割合のラインの色を変更したい場合、基準線の緑色のテキストをクリックし、リファレンスラインの設定ダイアログが表示されたら、基準線のスタイルから色を変更し、適用します。

累積割合のリファレンスラインの色を変更できました。

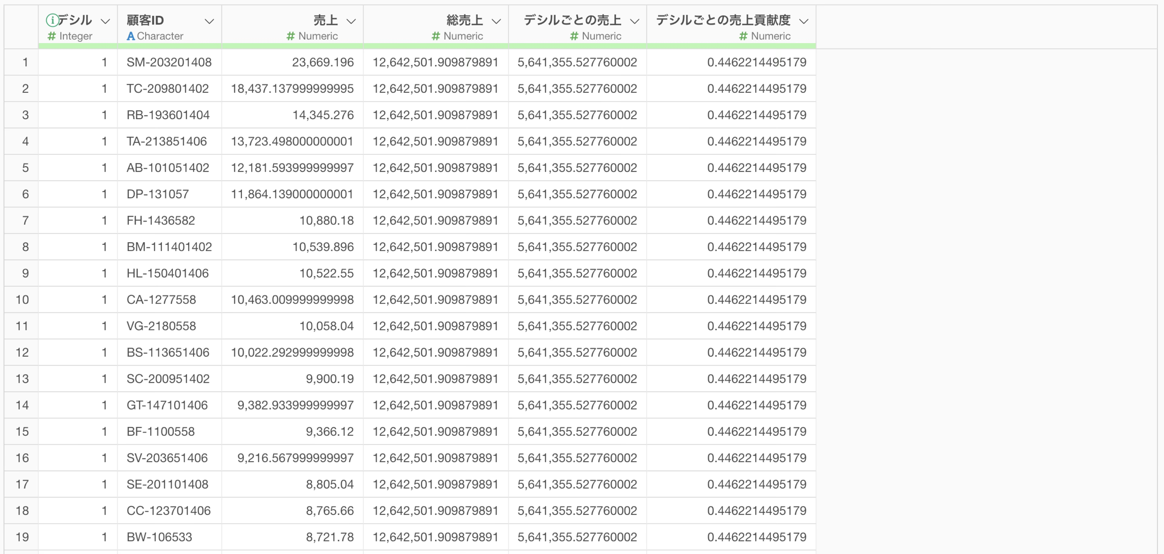
この結果から、デシル1(上位10%の顧客)が全体売上の約45%を占めていることが分かります。
また、デシル1〜3(上位30%の顧客)で全体売上の約78%を占めており、少数の優良顧客が売上の大部分を支えていることが確認できます。
